
Data Communications In Semiconductor Fabs
Today's semiconductor fabrication plants include a billion dollars worth of sophisticated equipment. The end result of this investment is to produce silicon wafers up to eight inches in diameter that may contain up to 2,500 circuits ranging from discrete logic or analog to complex microprocessors such as the Pentium processor. There is a need to acquire status information from all of the various systems and apply this to control the machines on the factory floor. This is a challenge for any data communications engineer. The problem is even more complicated when one realizes that a modern semiconductor plant utilizes more power than a small city. All this consumption in one place produces an incredible electrical noise
environment.
This
is a Telebyte
Custom Product
The challenge is to impress error free data transmission across the factory floor in this noisy environment. This problem faced in the engineers at a major semiconductor manufacturer when it came time to instrument a new fabrication facility. To solve this communications nightmare engineers made the wise decision to utilize differential transmission. This technique has the advantage of allowing operation in high electrical noise environments since the noise is common to both signals of the differential pair and is therefore rejected. The differential technique selected by the engineers was RS-422, a long established industry standard for data transmission.
Most of the equipment utilized in the fab facility complies with the Semiconductor Communications Standard, SECS. This allows tools from any manufacturer to interface to a common software suite. However, SECS is not RS-422 compatible but, it is based upon EIA-232D. It was therefore necessary for semiconductor manufacturer to locate an interface converter that would adapt the fab equipment to RS-422. That search led to Telebyte and its
Model 253.
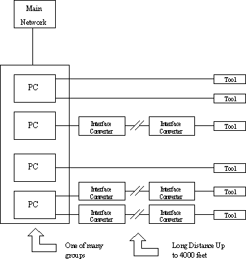
To better understand the problem, let us delve deeper into the instrumentation architecture. The following figure describes a portion of a typical network in a fab facility.
In the figure "NETWORK" is some LAN which is in the plant. Its purpose is to provide the necessary control for various machine tools. Here "PC" is not really a "Personal Computer." Rather, it is the semiconductor company's own controller. These are devices on the Network among other devices. These PC's are grouped together at a given physical location on the Network (in the plant). There are many PC's in each group. There may be up to eight groups throughout the facility.
Each PC controls one or more "tools."
Note: Interface Converters are Telebyte Model
253-PP2-313
There are many "tool applications/types" being controlled. Examples of these are:
- Robotics
- Wafer cutting
- Doping
- Testing (general)
- Oven control
- Clean room (environmental control)
- Furnace
- Wet stations
- Wafer reflectivity
- Particle density measurement
Each PC (controller) must communicate with its tools using the RS-422 interface standard, unless the PC is adjacent to the Tool. Each PC and tool has an EIA-232D interface which conforms to the Semiconductor Equipment Communication Standard (SECS).
Thus, EIA-232D to -422 interface conversion must be done. The semiconductor manufacturer is accomplishing this by using two Model 253-PP2's (two in tandem).
Why the Model 253 is small, it requires no external source of power since it steals its power from the PC or Tool to which it is attached. It also has a DB-9 connector which is the new quasi-standard for PC serial ports.
It is important to note that this is Network-PC-tool configuration is laid out as follows. Clean room space is at a premium and very expensive. Tools are located in the Clean room but the PC's are generally not (although there may be exceptions). PC's may be some distance away, as much as 800 feet at one specific fab facility.
This configuration allows ease of maintenance and grouping of PC's. The PC's can be located in close proximity to each other and monitored by highly trained technicians. Related processes can be grouped together thus allowing interaction and providing the ability to change or "tweak" the fabrication procedure as it occurs. This dynamic control can significantly improve yields.
The Model 253 by virtue of its ability to do the required interface conversion allows this configuration to be implemented.
At a new factory, management has chosen to locate the PC's that control the robotics, gases, etc. in remote locations. The nature of this equipment is such that a large amount of ElectroMagnetic radiation is emitted from each tool (semiconductor factories often use as much power as a mid-sized city!). The interface resilience of the RS-422 standard is required for the 400-800 foot run lengths often faced with.
The success of the fab facility is now being implemented in others. In fact, effective communications has been supported at 9600 BPS over distances of 3,000 feet on 24 AWG cable.
Model 253 RS-422 to RS-232 Interface Converter
